英文版
网站首页
关于我们
产品中心
应用案例
新闻资讯
人力资源
联系我们
加拿大RAD扭矩工具系列
栏目导航
液压缸
HVL系列
HPS系列
HLS系列
HSS系列
HAS系列
HHA系列
HHS系列
HHR系列
HDA系列
HFL和HFG系列
HGG和HSG系列
HPC系列
PCS套组
鞍座
泵
HP&HPX系列
HP-FP系列
动力泵
BPP系列
HEP1系列
HEP103系列
HEP2系列
HEP3系列
HEP5系列
HSP系列
AHP11系列
HAP系列
HPP系列
附件
系统元件
液压软管
压力表
液压分配器
液压油
快速接头和过渡接头
控制阀
千斤顶
千斤顶JAH和JAS系列
千斤顶JCS系列
千斤顶JCH系列
千斤顶JSS系列
千斤顶HMJ系列
扭矩工具
TWM和HTW系列
TWG系列
TWP和TWP-OG系列
TWS-N系列
TWS-N附件
IS和MS系列
TWH-N系列
TWH-NRH系列
TWH-N附件
IB和MB系列
BW系列
HTWP系列
TPA和TPE系列
扭动扳手泵配件
IW和FRL系列
BOLTRIGHT PRO 软
螺栓拉伸器
SBT英制系列
SBT组件英制系列
SBT公制系列
SBT组件公制系列
STS英制系列
STS组件英制系列
STS公制系列
STS组件公制系列
STS特殊
STU英制系列
STU公制系列
HTN英制系列
HTN公制系列
泵及附件
BOLTRIGHT PRO 软
测压泵
MHP系列
AHP系列
AHP-CR系列
AHP2系列
AHP2-CR系列
AHP3系列
ATDP系列
AHP-CR附件
拨轮器
SCP系列
ACP系列
PKS系列
PKC系列
SPP系列
HBR系列
HPR系列
压线钳和切割器
压线工具一般信息
CH系列
SC系列
BC系列
BC附件
HCH系列
CT系列
HWC系列
HSWC系列
HWRC系列
HCC系列
工具
HHP系列
HKP和SKP系列
NS系列
HMNS系列
DNS系列
HFS-H系列
HFS和HFS-TK系列
MFS和JS系列
SJS和SJS-TK系列
PB系列
RKT和RKF系列
RSN和RSA系列
RSG和RSD系列
HPF系列
工具箱
顶升系统
TL顶升系统一般信息
TL系列
TL附件
联系我们
服务热线
18150057921
邮箱:liqunju@fredjay.com
地址:福州市晋安区鼓山镇福新东路476号盛丰物流集团福州盛丰仓储城市配送中心3层310A单元
当前位置:
主页
>
产品中心
>
英国Hi-Force系列
>
测压泵
>
MHP系列
>
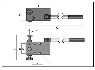
MHP-PU-手动测压泵体
有5种型号可供选择
配套有安装装备
结构紧凑,重量轻,容易操作
Hi -Force MHP-PU 系列手动测压泵体与120页的MHP系列手动测压泵特点一样, 然而MHP-PU系列只有泵体而没有油箱。泵体配套带有安装装备,可以很方便地安装到特殊设计的油箱上,油箱带有操作杆。
网站首页
|
关于我们
|
产品中心
|
应用案例
|
新闻资讯
|
人力资源
|
联系我们
|
加拿大RAD扭矩工具系列
|
Copyright © 2017-2020 福建睿捷工业科技有限公司 版权所有
闽ICP备18000091号-1